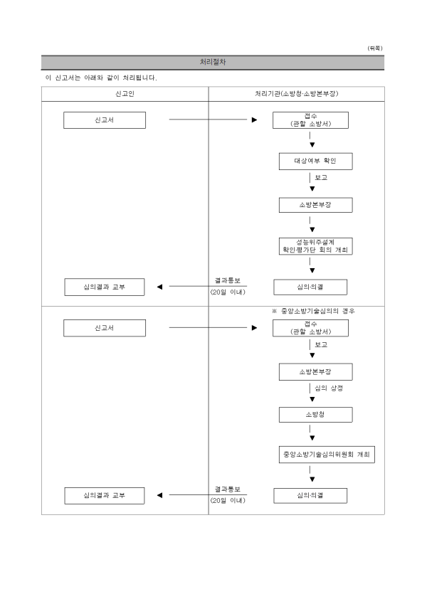
설계 | [설계] 성능위주설계 신고서

b06450f84e66701a7e0d8cef3eac6747_1632508579_455.png
b06450f84e66701a7e0d8cef3eac6747_1632508581_753.png